加入購物車成功!
本閥主要適用于火電廠干灰系統灰、渣出料的啟閉之用,也適用于礦山、造紙、石化等有磨損、腐蝕的粉塵、水、油、蒸汽等介
質在管路上的啟閉之用。本閥門具有密封性能好,耐高溫,耐磨性強,啟閉靈活,無卡灰及積灰現象,使用壽命長等特點。
TK耐磨陶瓷進料閥產品主體采用鑄鋼、鑄鐵、耐磨陶瓷組合而成。
填料采用氟橡膠和碳素纖維。
使用溫度≤250℃
執行機構公稱壓力為0.4-0.6Mpa,閥門公稱壓力為1Mpa。
通徑為DN50-DN200,也可以根據用戶要求定制。

進料閥安裝說明
歡迎您選用本公司產品。為了延長使用壽命,提高工作效益,本閥門在安裝時盡量做到直立安裝。在條件不允許的情況下要45度安裝。如倒裝或水平裝的情況下,須***延長空送時間,避免閥體積灰。
本閥門返回迅號采用進口電感磁性開關二線制,通過負載本迅號線可適應直流,交流均可。
安裝、使用要點
1、安裝前應仔細閱讀本說明、并核對閥門型號、通徑及技術參數。
2、嚴禁裝上閥門后施焊法蘭,以避免損壞閥門密封圈。管道自先預留的閥門安裝距離應適當,法蘭兩邊加墊片。
3、兩管道中心與閥門通徑中心應保持同軸,法蘭面應平整,不允許法蘭面有較大的偏斜,以保證閥門的夾緊和正常工作。擰
緊螺栓應做到均勻對稱。
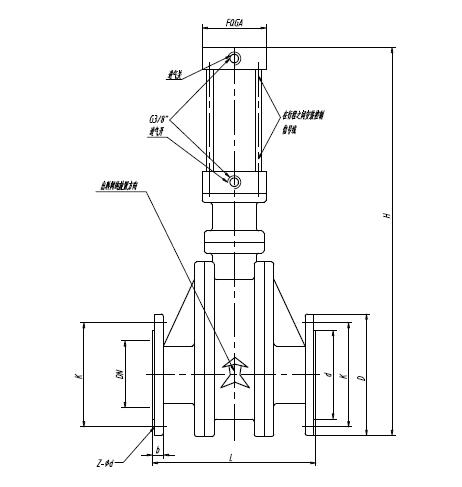
TK(TC)Z646CE-10Q-CHB10雙閘氣鎖耐磨陶瓷出料閥外形尺寸、連接尺寸以及執行器型號表
通徑(mm) 連接尺寸外形尺寸及配置執行器(mm)
DN D K d b Z-Φd L H FQGA
50 160 125 100 15 4-Φ18 205 470 80×65
65 185 145 118 15 4-Φ18 230 520 80×85
80 200 160 132 15 8-Φ18 250 578 100×100
100 220 180 156 16 8-Φ18 255 746 125×120
125 250 210 185 16 8-Φ18 250 825 125×145
150 285 240 210 18 8-Φ22 270 920 160×170
200 340 295 266 20 8-Φ22 340 1120 200×230








