加入購物車成功!
本閥主要適用于火電廠干灰系統灰、渣進料的啟閉之用,也適用于礦山、石灰廠、水泥廠等有磨損、腐蝕的粉塵介質進料的啟
閉。本閥門具有密封性能好,耐高溫,耐磨性強,啟閉靈活,無卡灰及積灰現象,使用壽命長等特點。
TK 耐磨陶瓷進料閥產品主體采用鑄鋼、鑄鐵、耐磨陶瓷組合而成。
使用溫度≤ 250℃
執行機構公稱壓力為0.4-0.6Mpa,閥門公稱壓力為1Mpa。
也可以根據用戶要求定制。

進料閥安裝說明
歡迎您選用本公司產品。為了延長使用壽命,提高工作效益,本閥門在安裝時切勿碰壞氣缸,水平安裝在倉泵上即可。
本閥門返回迅號采用進口電感磁性開關二線制,通過負載本迅號線可適應直流,交流均可。
安裝、使用要點
1、安裝前應仔細閱讀本說明、并核對閥門型號、通徑及技術參數。
2、嚴禁裝上閥門后施焊法蘭,以避免損壞閥門密封圈。管道自先預留的閥門安裝距離應適當,法蘭兩邊加墊片。
3、兩管道中心與閥門通徑中心應保持同軸,法蘭面應平整,不允許法蘭面有較大的偏斜,以保證閥門的夾緊和正常工作。擰
緊螺栓應做到均勻對稱。
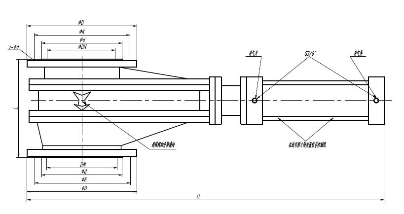
TK(TC)Z646CE-10Q-JB10雙閘氣鎖耐磨陶瓷進料閥外形尺寸、連接尺寸以及執行器型號表
通徑(mm) 連接尺寸外形尺寸及配置執行器(mm)
DN D K d b Z-Φd L H FQGA
150 285 240 210 18 8-Φ22 290 920 125×170
200 340 295 266 20 8-Φ22 310 1120 125×230
200×300 340×445 295×400 266×370 22 8-Φ22 340 1120 125×230
200×350 340×520 295×470 266×445 22 8-Φ22 340 1120 125×230
250 395 350 320 26 12-Φ22 400 1372 160×275
250×300 395×445 350×400 320×370 26 12-Φ22 400 1372 160×230
300 445 400 370 26 12-Φ22 400 1430 160×325








